The LGP is a low-profile tension/compression load cell designed to measure loads from 10klb to 50klb. Featuring a threaded center hole, it accommodates both compression applications and tension applications.
View or download the LGP 5072 Low Profile Pancake Load Cell datasheet below.
Download LGP 5072 datasheet
Features
- Capacities from 10klb to 50klb.
- Low profile design.
- Tension/compression.
- Designed for easy installation.
- Stainless steel construction.
- Environmental protection IP67.
Applications for LGP 5072 Low Profile Pancake Load Cell
- Cable Tension Measurement.
- Structural and industrial applications where space may be limited.
- Jet Engine thrust measurement.
Options
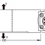
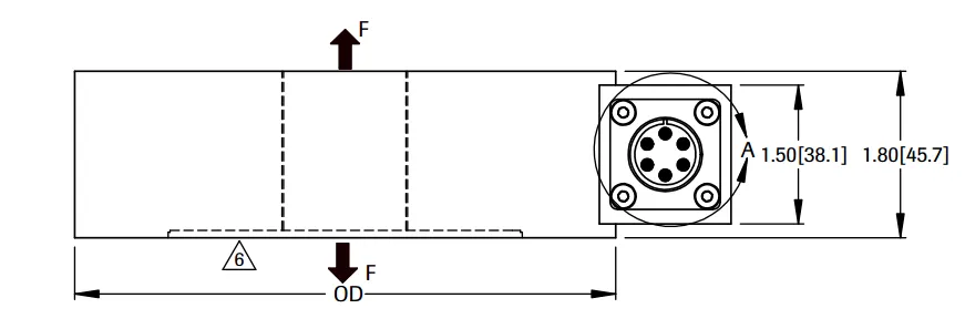
Outline Dimensions


| Capacity (klb) | OD | ØG | T | X | ØK |
|---|
| 10-15 | 5.45[138.5] | 4.500[114.30] | 1-14UNS | 8 | 0.40[10.2] |
| 20-50 | 5.85[148.5] | 4.875[123.83] | 1 1/2-12UN | 0.53[13.5] |
Notes:
- Arrow indicates the positive loading direction.
- All dimensions are in inch[mm].
Wiring
| Pin No | Connection | Color |
|---|
| A | Excitation + | Red |
| B | Signal + | Green |
| C | Signal – | Black |
| D | Excitation – | White |
| E | N/C | – |
| F | N/C | – |
Pin Configuration

Connector: MS3102A-14S-6P.
Specifications for LGP 5072 Low Profile Pancake Load Cell
| Model | LGP |
|---|
| Capacities(Emax) | See table |
| Full scale output (FS) | mV/V | 3.0±0.1% |
| Zero balance | %FS | ≤±5 |
| Non-linearity | %FS | ≤±0.1 |
| Hysteresis | %FS | ≤±0.08 |
| Nonrepeatability | %FS | ≤±0.03 |
| Creep @ 30min | %FS | ≤±0.02 |
| Temperature effect |
| Output | %FS/10 °C | ≤±0.04 |
| Zero | %FS/10 °C | ≤±0.04 |
| Temperature range |
| Compensated | °C | -10~+ 40 |
| Operating | °C | -20~+ 65 |
| Terminal resistance |
| Input resistance | Ω | 386±30 |
| Output resistance | Ω | 350±5 |
| Excitation voltage | VDC | 5-15 |
| Safe overload limit | %FS | 150 |
| Insulation resistance @ 50VDC | MΩ | ≥5000 |
| Ultimate load | %FS | 200 |
| Seal type | IP67 |
| Element material | Stainless steel |
Part Numbers
| Capacity (klb) | Part No. |
|---|
| 10 | 5072-000-00 |
| 15 | 5072-001-00 |
| 20 | 5072-002-00 |
| 30 | 5072-003-00 |
| 50 | 5072-004-00 |
LGP 5072 Low Profile Pancake Load Cell Mating Cable


214609-LGP Mating Cable Color Code
| Pin No | Connection | Color |
|---|
| A | Excitation + | Red |
| B | Signal + | Green |
| C | Signal – | Black |
| D | Excitation – | White |
| E | N/C | – |
| F | N/C | – |
| – | Shield | Yellow |
Cable Pin Configuration

| OD | Description | Part No. |
|---|
| 1 | 6 Position circular connector plug,female sockets solder cup | MS3106E-14S-6S |
| 2 | 22AWG 4 Core black PVC cable | – |
| 3 | Black color shirnk tube | – |
Download LGP 5072 datasheet